【No.21】
道路のアスファルト舗装の補修工法に関する下記の説明文に該当するものは, 次のうちどれか。
「局部的なくぼみ, ポットホール, 段差等に舗装材料で応急的に充填する工法」
- オーバーレイ工法
- 打換え工法
- 切削工法
- パッチング工法
【No.22】
道路の普通コンクリート舗装における施工に関する次の記述のうち, 適当なものはどれか。
- コンクリート版が温度変化に対応するように, 車線に直交する横目地を設ける。
- コンクリートの打込みにあたって, フィニッシャーを用いて敷き均す。
- 敷き広げたコンクリートは, フロートで一様かつ十分に締め固める。
- 表面仕上げの終わった舗装版が所定の強度になるまで乾燥状態を保つ。
【No.23】
ダムの施工に関する次の記述のうち, 適当でないものはどれか。
- 転流工は, ダム本体工事を確実に, また容易に施工するため, 工事期間中の河川の流れを迂回させるものである。
- コンクリートダムのコンクリート打設に用いるRCD工法は, 単位水量が少なく, 超硬練りに配合されたコンクリートをタイヤローラで締め固める工法である。
- グラウチングは, ダムの基礎岩盤の弱部の補強を目的とした最も一般的な基礎処理工法である。
- ベンチカット工法は, ダム本体の基礎掘削に用いられ, せん孔機械で穴をあけて爆破し順次上方から下方に切り下げていく掘削工法である。
【No.24】
トンネルの山岳工法における掘削に関する次の記述のうち, 適当でないものはどれか。
- 吹付けコンクリートは, 吹付けノズルを吹付け面に対して直角に向けて行う。
- ロックボルトは, 特別な場合を除き, トンネル横断方向に掘削面に対して斜めに設ける。
- 発破掘削は, 地質が硬岩質の場合等に用いられる。
- 機械掘削は, 全断面掘削方式と自由断面掘削方式に大別できる。
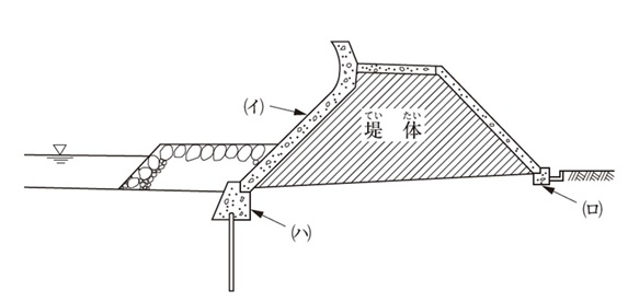
【No.25】
下図は傾斜型海岸堤防の構造を示したものである。図の(イ)~(ハ)の構造名称に関する次の組合せのうち, 適当なものはどれか。

- (イ)裏法被覆工・・(ロ)根留工・・(ハ)基礎工
- (イ)表法被覆工・・(ロ)基礎工・・(ハ)根留工
- (イ)表法被覆工・・(ロ)根留工・・(ハ)基礎工
- (イ)裏法被覆工・・(ロ)基礎工・・(ハ)根留工
前の問題を見直す?/次の問題へ進む?
